INFORMACJE DODATKOWE
- Konstrukcja drzwi
- Oscieżnice
- Montaż i eksploatacja
- Aprobaty i deklaracje
- Warunki Gwarancji
- Ogólne Warunki Sprzedaży
Konstrukcja Drzwi Zewnętrznych:
Drzwi drewniane zewnętrzne PĘDZIWIATR produkowane są z drewna sosnowego klejonego, zgodnie
z wymaganiami technicznymi i technologią, określonymi dla drzwi zewnętrznych drewnianych w zakładowej specyfikacji technicznej wyrobu.
Są to drzwi płycinowe, pełne oraz oszklone szyba zespoloną, izolowane pianką polistyrenową. Płyciny mają wyfrezowane aplikacje wykończeniowe.
Drzwi produkowane są wraz z ościeżnicą drewnianą i progiem drewnianym.
Konstrukcja Drzwi Wewnętrznych:
Drzwi drewniane wewnętrzne PĘDZIWIATR produkowane są z drewna sosnowego klejonego, zgodnie
z wymaganiami technicznymi i technologią, określonymi dla drzwi wewnętrznych drewnianych w zakładowej specyfikacji technicznej wyrobu.
Są to drzwi płycinowe, pełne oraz oszklone szybą wg. oferty. Płyciny mają wyfrezowane aplikacje wykończeniowe.
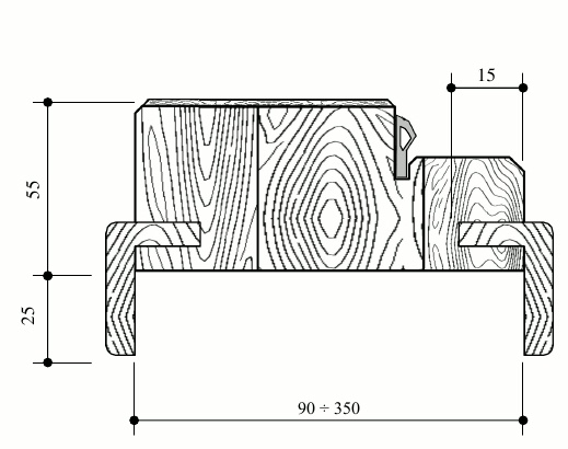
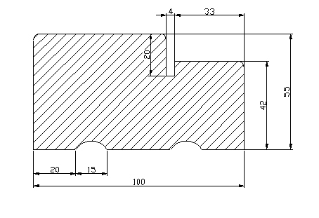
Przekroje:
| Przykładowy przekrój drzwi zewnętrznych | Przykładowy przekrój ościeznicy | Przykładowy przekrój progu | Przykładowy przekrój drzwi wewnętrznych |
Jak określić kierunek otwierania drzwi?
Stronność drzwi określa się w bardzo prosty sposób. Stojąc przodem do drzwi (muszą otwierać się w naszą stronę – ciągniemy drzwi za klamkę do siebie) należy określić, po której stronie widzimy zawiasy. Jeżeli zawiasy widzimy po lewej stronie, mamy drzwi lewe, jeżeli po prawej, to drzwi są prawe.

Oscieżnice:
Montaż oraz eksploatacja drzwi:
Dla zapewnienia wieloletniej trwałości stolarki oraz zadowolenia z jej użytkowania niezbędny jest prawidłowy montaż. Drzwi należy wbudowywać zgodnie z ich przeznaczeniem, przy użyciu profesjonalnego wyposażenia
i przyrządów pomiarowych oraz przez osoby czy jednostki z doświadczeniem i znajomością sztuki budowlanej. Aby byli Państwo usatysfakcjonowani z naszych wyrobów polecimy firmę w Państwa regionie lub sami wykonamy usługę montażu zakupionych u nas drzwi.
Postaw na doświadczenie.
Nasza ekipa montażowa oraz współpracujące z nami firmy posiadają wieloletnie doświadczenie i profesjonalny sprzęt, dzięki czemu montaż drzwi drewnianych jest przeprowadzany szybko i fachowo. Montujemy drzwi na terenie południowej Polski, w mieszkaniach, domach jednorodzinnych, miejscach użyteczności publicznej, m.in.
w przedszkolach i urzędach.
Termin montażu drzwi drewnianych staramy się dopasować do Państwa możliwości.
Zakres oferowanych usług obejmuje (w cenie drzwi z usługą montażu):
- pomiar,
- montaż zakupionej u nas stolarki,
- obróbkę listwami maskującymi (w przypadku ościeżnic regulowanych)
- transport
Instrukcja montażu oraz eksploatacji
Informację na ten temat znajdziecie Państwo w naszej instrukcji: "Instrukcja montażu i użytkowania drzwi."
Aprobaty techniczne oraz deklaracje zgodności:
Aby otworzyć i zobaczyć dany dokument wystarczy kliknąć na jego nazwę:
2. Deklaracja Zgodności EC nr 1
3. Deklaracja Zgodności EC nr 2
OGÓLNE WARUNKI GWARANCJI
1. P.U.H. Zakład Stolarski Józef Pędziwiatr udziela gwarancji na okres liczony od daty wystawienia faktury
sprzedaży wraz z zapewnieniem opieki serwisowej i prawem do nieodpłatnych napraw na okres 24 miesięcy po
spełnieniu niżej wymieniowych warunków:
- Produkt został zamontowany zgodnie z instrukcją użytkowania i montażu drzwi.
- Produkt został zamontowany na terenie Rzeczpospolitej Polskiej.
- Gwarancja obowiązuje na terytorium RP
2. Reklamację zgłaszać należy w punkcie, w którym dokonano zakupu niezwłocznie po ujawnieniu się wady. Warunkiem świadczenia usług gwarancyjnych jest przedłożenie przez Kupującego Karty Gwarancyjnej i dowodu zakupu. Wady możliwe do wykrycia przed wbudowaniem i montażem, powinny być niezwłocznie zgłoszone do Dostawcy przed bezwzględnie wykonaniem tych prac.
3. Producent będzie zobowiązany z tytułu gwarancji wyłącznie po przedstawieniu przez Klienta:
-czytelnego i poprawnie wypełnionego zgłoszenia reklamacyjnego w którym należy podać swoje dane teleadresowe,
rodzaj drzwi, ilość, opis wady
-ważnego dowodu zakupu z datą sprzedaży,
4 Gwarancją objęte są produkty spełniające następujące warunki:
- magazynowane w pomieszczeniach krytych, suchych i wietrzonych,
-zamontowane zgodnie z „Instrukcją montażu” po zakończeniu robót mokrych,
-eksploatowane zgodnie z przeznaczeniem, oraz we właściwych warunkach wewnątrz pomieszczeń
prawidłowo funkcjonującej wentylacji oraz wilgotności względnej nie przekraczającej 65%
-posiadające odpowiednio duże zadaszenie(dotyczy tylko drzwi zewnętrznych)
-nienoszące śladów podcinania, lub innych zmian naruszających konstrukcje,
-drzwi nie mają styczności z wodą (zwłaszcza w łazienkach). Wszelkie wady wizualne należy bezwzględnie
zgłosić przed dokonaniem odbioru, czy montażem – brak zgłoszenia jest traktowany jako pełna akceptacja
wyrobu.
- Drzwi zewnętrzne otwierane na zewnątrz muszą być osłonięte poprzez montaż zadaszeń i ewentualnie osłon bocznych.
-Drzwi otwierane do wewnątrz muszą być całkowicie osłonięte gankami czy inną obudową lub montowane w podcieniach
5. Dopuszcza się na powierzchni szyby, witraża rysy o długości nie większej niż 20 mm na zewnątrz i
wewnątrz zestawu szybowego w ilości nie większej niż 4 szt. na 1 m2 szyby zespolonej.
6. Drewno jako materiał naturalny posiada swoją różnorodną budowę amorficzną związaną z miejscem pochodzenia, warunkami glebowymi, ilością słońca oraz ilością wody w glebie. Istotny wpływ na wybarwienie ma również pora roku w której dokonano pozyskania drewna. W związku z powyższym dopuszcza się różnice kolorystyczne poszczególnych elementów wyrobu, spowodowane odstępstwem w odcieniach naturalnego ubarwienia i usłojenia drewna klejonego użytego do produkcji stolarki, jak również mniejszych usterek, nie rzutujących na wykorzystanie wyrobu. W/w odchyłki w kolorach na poszczególnych ramiakach, podczas pomiaru fotometrycznego mogą wynosić do 25% odstępstwa od wzorca, w zależności od rodzaju drewna, koloru drewna, grubości naniesionej farby itp. Oceny należy dokonywać nieuzbrojonym okiem z odległości większej niż 1,5 metra.
7 Przyjmowanie gwarancji i jej rozparzenie.
Warunkiem kwalifikacji zgłoszonej wady jest zgłoszenie jej przed montażem, oraz bezwzględne odstąpienie od czynności montażowych. Zainstalowanie akcesoriów traktowane jest jako rozpoczęcie montażu danego produktu.
Wady ujawnione w okresie gwarancji będą usuwane bezpłatnie przez Producenta w przypadku uznania przez
niego zasadności zgłoszenia reklamacyjnego. Zgłoszenia reklamacyjnego dokonać należy niezwłocznie po
ujawnieniu się wad w wyrobie. Zgłoszenie zostanie rozpatrzone w terminie 14 dni roboczych od jego otrzymania.
Producent zastrzega sobie prawo dokonania oględzin reklamowanego wyrobu, lub usługi po dokonaniu
zgłoszenia reklamacyjnego a przed jego zaakceptowaniem. Podczas oględzin sporządzony zostanie protokół z
reklamacji. Naprawa wykonana zostanie w terminie nie przekraczającym 1 miesiąca od momentu pisemnego
uznania zgłoszenia reklamacyjnego. Powyższy okres może ulec wydłużeniu, w przypadku konieczności
przeprowadzenia tych czynności w okresach świątecznych lub wystąpienia innych, niezależnych od Producenta
zdarzeń. Producent zawiadomi Klienta o ewentualnym wydłużeniu terminu naprawy. Gwarancja obejmuje
wyłącznie wady powstałe z przyczyn tkwiących w wyrobach lub usługach.
8 Klient traci prawo gwarancji jeśli naruszy konstrukcje drzwi we własnym zakresie lub jeśli czynności takie będą
wykonane przez firmy zewnętrzne. Kategorycznie zabronione jest podcinanie drzwi, zmniejszanie ich wymiarów
zarówno z wysokości jak z szerokości.
9 Klient ma prawo ubiegać się o wymianę produktu na wolny od wad pod warunkiem iż zapłacił w całości za niego
na nowy lub inny odnowiony wg uznania Producenta, oraz w przypadku, gdy Producent w okresie gwarancji nie
jest w stanie go naprawić dokonując pięciu napraw tego samego elementu (elementu a nie wymiany całego
skrzydła, lub drzwi) a produkt nadal będzie wykazywał wady uniemożliwiające użytkowanie zgodnie z przeznaczeniem.
10 Zabrania się przetrzymywania w pobliżu drzwi urządzeń elektrycznych tj żelazka, grzałki, piecyki.
11. Tylko w przypadku zgłoszenia reklamacji na drzwi, w których już wcześniej raz wymieniono skrzydło na nowe
jeżeli serwisanci nie będą w stanie usunąć usterki w stopniu zadowalającym Klienta druga złożona reklamacja na
tą samą wadę uprawnia Producenta do zwrotu Klientowi wartość za towar i zabraniu drzwi w okresie 4 tygodni od
chwili przyjęcia ponownej reklamacji.
12. Producent w przypadku jeśli stwierdzi, że nie jest w stanie sprostać wymaganiom Klienta ma prawo dokonać
zwrotu otrzymanej wartości za towaru oraz bezzwłocznie zabierać swój towar.
13. Drzwi są własnością Producenta do momentu otrzymania przez niego pełnej wartości za towar lub wyświadczoną
usługę i może on nimi dowolnie zarządzać.
14. Zobowiązanie Producenta z tytułu gwarancji wygasa jeżeli stanie się to niemożliwe do spełnienia na skutek
okoliczności, niezależnych od Producenta. Producent nie ponosi za to odpowiedzialności.
15. Niewłaściwa wentylacja w pomieszczeniach może być powodem nadmiernego zawilgocenia ścian i
zamontowanej stolarki prowadząc do nieodwracalnych defektów. Przestrzegamy iż drzwi nie można montować
przed zakończeniem wszystkich robót mokrych oraz użytkować ich w nadmiernie wilgotnym pomieszczeniu.
16. Producent zastrzega sobie prawo oceny i kwalifikacji wad.
17. Nadużycie uprawnień gwarancyjnych lub bezprzedmiotowe wezwanie serwisanta spowoduje zwrotne
dochodzenie poniesionych kosztów. Jak również w przypadku wcześniejszego ustalenia terminu przyjazdu
serwisantów nie udostępnienie pomieszczeń.
18. Złożenie zamówienia jest jednoznaczne z akceptacją warunków gwarancji i ogólnych warunków sprzedaży
Uchylenie lub zmiana jednego punktu w całości zwalnia Producenta z rękojmi.
19.W pozostałym zakresie nieuregulowanym w niniejszej gwarancji zastosowanie mają przepisy kodeksu cywilnego.
.........................................
Czytelny podpis użytkownika
Karta bez podpisu klienta jest nie ważna
Definicje
1. Ogólne Warunki Sprzedaży zwane są dalej OWS.
2. Sprzedający – Produkcyjno-Usługowo_Handlowy Zakład Stolarski Józef Pędziwiatr Borki31, 23-415 Księżpol
3. Kupujący – osoba prawna lub fizyczna.
4. Zapisy odnośnie podpisania umowy (kontraktu) stosuje się odpowiednio do przyjęcia zamówienia i jego potwierdzenia (czyli umowy dwu-dokumentowej).
Zakres stosowania ogólnych warunków sprzedaży
1. Kupujący lub osoba upoważniona przez niego składając zamówienie poświadcza, że OWS Sprzedającego są mu znane i je akceptuje. Spełnienie tego warunku jest niezbędne do współpracy handlowej.
2. Obowiązujące u Kupującego warunki realizacji umów o odmiennej treści nie są akceptowane przez Sprzedającego.
3. Sprzedający dopuszcza zawieranie indywidualnych umów handlowych i kontraktów w drodze wzajemnych negocjacji pomiędzy stronami. Przyjęte rozwiązania umowne odmienne, niż zawarte w OWS mają pierwszeństwo przed zapisami OWS.
Zamówienie
1. Zamówienie przesłane Sprzedającemu przez Kupującego podpisane przez reprezentantów lub przez upoważnione osoby z załączonym pełnomocnictwem, musi zawierać: dane Kupującego, szczegółowe informacje o zamawianym produkcie w zakresie niezbędnym do jego identyfikacji (np. powołanie się na propozycję Sprzedawcy, jeśli złożenie takowej poprzedzało złożenie zamówienia) oraz dane dotyczące żądanych przez Kupującego warunków realizacji zamówienia.
2. Złożenie zamówienia nie wiąże Sprzedającego, zaś brak odpowiedzi nie oznacza milczącego przyjęcia zamówienia. Przyjęcie przez Sprzedającego zamówienia do realizacji wymaga pisemnego potwierdzenia przez Sprzedającego. W przypadku przyjęcia przez Sprzedającego zamówienia z zastrzeżeniami, Kupujący związany jest treścią tych zastrzeżeń, o ile nie przedstawi on niezwłocznie swoich ewentualnych uwag. Niezwłoczne zgłoszenie uwag uważa się za złożenie nowego zamówienia, przy czym ustalenia wzajemne poprzedzające nowe zamówienie muszą być uwzględnione.
3. Fakt przyjęcia zamówienia nie wiąże Sprzedającego w sytuacjach:
• Gdy z przyczyn od niego niezależnych, w szczególności z powodu siły wyższej dostarczenie i sprzedaż wyrobów (towarów) jest niemożliwe lub nadmiernie utrudnione.
• Gdy łączne zobowiązania Kupującego wobec Sprzedającego przekroczyły kwotę kredytu kupieckiego przyznanego Kupującemu przez Sprzedającego.
• Gdy Kupujący opóźnia się z zapłatą na rzecz Sprzedającego jakichkolwiek wymagalnych należności, lub nie dokonuje odbioru pomimo wezwania. Nie ustanowienia na żądanie zabezpieczenia lub jego wygaśnięcia.
Warunki dostawy: czas dostawy, transport, ubezpieczenie, przejście ryzyka
1. Strony umowy uzgadniają warunki dostawy indywidualnie.
2. Czas dostawy wymieniony w potwierdzeniu zamówienia powinien być traktowany jako uzgodniony pomiędzy stronami. Niedotrzymanie terminu dostawy przez Sprzedającego uprawnia Kupującego do dochodzenia przysługujących mu praw jedynie wtedy, jeżeli Sprzedający pomimo pisemnie uzgodnionych nowych terminów nadal nie realizuje dostawy.
3. Kupujący zobowiązany jest do odbioru wyrobu (towaru) lub jego przyjęcia, do 7 roboczych dni po powiadomieniu o jego dostępności w magazynach Sprzedającego. W przypadku zaistnienia zwłoki w odbiorze, Kupujący może zostać obciążony kosztami magazynowania.
4. Każda dostawa częściowa stanowi odrębną transakcję i może być oddzielnie fakturowana przez Sprzedającego.
5. Wycofanie potwierdzonego zamówienia w całości lub części przez Kupującego może być tylko za zgodą Sprzedającego. W przypadku wycofania takiego zamówienia w trakcie realizacji Kupujący zostanie obciążony kwotą adekwatną do stopnia zaawansowania realizacji zamówienia. Kwota ta zostanie określona przez Sprzedającego.
Cena
Cenę wyrobu (towaru) ustala się w oparciu o uzgodnienia obowiązujące w dniu potwierdzenia zamówienia.
Płatność
1. Faktura jest jednocześnie dokumentem wydania towaru.
2. W sprzedaży towaru w obrocie między przedsiębiorcami na podstawie art.558 par.1 K.C. strony wyłączają odpowiedzialność sprzedającego z tytułu rękojmi za wady fizyczne i prawne rzeczy.
3. Faktury Sprzedającego są płatne w banku wymienionym w fakturze. Jeśli w umowie nie uzgodniono inaczej, to opłaty bankowe związane z płatnością pokrywa Kupujący. Zapłata powinna być dokonana na warunkach określonych w zamówieniu. W przypadku zwłoki w zapłacie, niezależnie od przysługujących mu odsetek, Sprzedający ma prawo wstrzymać i anulować pozostałe dostawy oraz obciążyć Kupującego udokumentowanymi kosztami. Sprzedający zastrzega sobie prawo własności dostarczonych wyrobów (towarów) do momentu, kiedy uzyska za nie zapłatę w pełnej wysokości.
4. W przypadku, jeżeli w treści ustaleń stron nie wskazano, czy dane ceny są cenami netto czy brutto, zawsze uważać się będzie, że są to ceny netto, do których doliczony zostanie podatek VAT w obowiązujących w danym czasie wysokości i stawce dla danego wyrobu (towaru), usługi i wystawienia faktury /paragonu.
5. Zapłata zostanie dokonana w terminie wskazanym w umowie lub fakturze, zgodnie z ustaleniami stron, w wypadku zaś braku takich ustaleń – w terminie nie dłuższym niż 30 dni od dnia wydania Kupującemu wyrobu(towaru).
6. Jeśli Kupujący nie wykona swoich zobowiązań w ciągu dwóch tygodni od ustalonego terminu, Sprzedający ma prawo odstąpić od umowy bez uprzedniego kierowania do Kupującego jakichkolwiek dodatkowych wezwań.
7. Za dzień dokonania zapłaty uważać się będzie dzień zaksięgowania danej kwoty na rachunku bankowym Sprzedającego. W przypadku uchybienia terminu zapłaty, Sprzedającemu przysługuje roszczenie o zapłatę przez Kupującego odsetek zgodnych z obowiązującymi przepisami prawa lub warunkami umowy.
8. Jeżeli istnieje uzasadniona podstawa do przypuszczenia, że Kupujący nie wywiąże się ze swojego zobowiązania płatniczego, Sprzedający ma prawo żądać – przed wydaniem wyrobu (towaru) i niezależnie od ustalonego wcześniej terminu płatności – uiszczenia całej należności gotówką, albo udzielenia określonych gwarancji lub zabezpieczeń płatności lub zmienić termin płatności.
9. Zgłoszenie przez Kupującego ewentualnych reklamacji nie wstrzymuje biegu terminu płatności.
Ilość i jakość
1. Wyrób (towar) sprzedawany jest ilościowo według jednostek określonych w umowie (metry bieżące, metry kwadratowe, kąplety, sztuki lub inne).
2. Wszystkie informacje techniczne dotyczące rodzaju drzwi, wymiarów i jakości wynikające z katalogów, prospektów, broszur i innych materiałów reklamowych przygotowanych przez Sprzedającego są danymi orientacyjnymi. Obowiązują one tylko w takim zakresie, w jakim zostaną uzgodnione przez obie strony.
3. Kupujący jest odpowiedzialny za treść złożonego zamówienia, tj. by dane techniczne oraz informacje dotyczące jakości i ilości zamawianego wyrobu (towaru) odpowiadały jego wymaganiom.
4. Jeżeli zamówienie nie określa zgodności wyrobu (towaru) z normą lub nie zawiera opisu żądanej jakości wyrobu (towaru), będzie on dostarczony jako zwyczajny wyrób (towar) handlowy, bez odpowiedzialności za specjalne wymogi jakościowe.
5. Wszelkie stosowane do produkcji wyrobów drzwiowych materiały mają własne, zależne od zastosowanych naturalnych surowców zabarwienie, które w różnym stopniu podlega wybarwieniu. Zabarwienie to może być różne i jest naturalnym zjawiskiem tego typu wyrobów. Zauważalne wahania odcieni powłok lakierniczych mogą wynosić 25% i nie można ich uniknąć. Jako producent drzwi drewnianych dokładamy starań dla zapewnienia możliwie najlepszej powtarzalności parametrów procesu, a tym samym uzyskiwanej barwy i odcienia powłok. Tym niemniej, każdy z tych procesów posiada pewne granice tolerancji powtarzalności, w ramach których mogą mieścić się różnice obserwowanego odcienia i barwy.
Reklamacje
1. Kupujący jest zobowiązany do zbadania wyrobu (towaru) pod względem ilościowym i jakościowym w trakcie rozładunku, przed odbiorem (w przypadku odbioru osobistego).
2. Jeżeli Kupujący po zbadaniu wyrobu (towaru) stwierdza, że w czasie transportu powstały niedobory lub defekty, ma on obowiązek sporządzić protokół w obecności przewoźnika i przesłać go w ciągu 2 dni od daty dostawy do Sprzedającego.
3. Reklamacje dotyczące jakościowych wad ukrytych, których stwierdzenie mimo dokładnego zbadania wyrobu (towaru) po dostawie nie było możliwe, należy przedłożyć Sprzedającemu pisemnie (wraz z dokładnym opisem, ewentualnie zdjęciami reklamowanego wyrobu (towaru), niezwłocznie po ich stwierdzeniu, jednak nie później niż 180 dni od daty dostawy. Po tym terminie odpowiedzialność Sprzedającego wygasa.
4. Wyroby posiadające uszkodzenia mechaniczne nie podlegają reklamacji.
5. Sprzedającemu przysługuje prawo do skontrolowania reklamowanego wyrobu (towaru) przez jego przedstawicieli. W takich przypadkach Kupujący ma obowiązek udostępnić wyrób (towar) do kontroli i zapewnić wszelkie warunki niezbędne do przeprowadzenia kontroli i stwierdzenia zasadności reklamacji.
6. Po zaakceptowaniu roszczenia, Sprzedający uzupełni dostawę, naprawi lub wymieni reklamowany wyrób (towar), albo odpowiednio obniży cenę. Wartość reklamacji w żadnym przypadku nie może przekroczyć wartości reklamowanego wyrobu (towaru). Prawo wyboru formy-wymiana lub obniżenie wartości- zależy od Sprzedającego.
7. Z tytułu złożonej przez Kupującego reklamacji Sprzedający nie ponosi odpowiedzialności za straty pośrednie i utracone korzyści gospodarcze.
8. Jeżeli Kupujący nie udostępni Sprzedającemu reklamowanego wyrobu (towaru), Sprzedający uznaje reklamację jako nieuzasadnioną.
9. Reklamacje powinny być zgłaszane wyłącznie w formie pisemnej na adres firmy lub mail: info@pedziwiatr-drzwi.pl , Sprzedawca ma 14 dni na udzielenie odpowiedzi.
10. Obowiązkiem Kupującego jest dostarczenie wadliwego towaru do Sprzedawcy w celu oceny zasadności reklamacji. Zarówno przygotowanie towaru do transportu jak i sam transport do siedziby Sprzedawcy obciąża Kupującego. Wadliwy towar powinien być zapakowany w opakowanie uzgodnione ze Sprzedawcą, należycie chroniące go przed dalszym uszkodzeniem i zniszczeniem. Sprzedawca nie odpowiada za uszkodzenia powstałe podczas transportu reklamowanych towarów z powodu niewłaściwego opakowania i zabezpieczenia.
11. W przypadku wad uniemożliwiających wykorzystanie towaru zgodnie z przeznaczeniem, Sprzedawca może załatwić reklamację poprzez obniżenie ceny.
12. Wykonanie naprawy towaru lub dostarczenie nowego towaru wolnego od wad nastąpi w terminie uzgodnionym z Kupującym z uwzględnieniem minimów czasowych dla procesu technologicznego produkcji, zgromadzenia surowców i półproduktów.
13. Sprzedawca ma prawo wstrzymać się wobec Kupującego z realizacją roszczeń z tytułu rękojmi do czasu uregulowania przez Kupującego zaległych należności, w tym również za reklamowany towar.
14. PUH Zakład Stolarski Józef Pędziwiatr nie ponosi odpowiedzialności za szkody spowodowane niewłaściwym użytkowaniem lub przechowywaniem towaru przez Kupującego oraz za błędy wykonawcze osób trzecich. W szczególności reklamacja nie przysługuje Kupującemu w sytuacjach gdy :
• Kupujący lub osoba trzecia użyli towaru niezgodnie z jego parametrami technicznymi
• Kupujący lub osoba trzecia na własną rękę dokonali zmian w towarze
• Towar jest niewłaściwe składowany, montowany lub doszło do niezastosowania się do instrukcji użytkowania i montażu.
• Gwarancja nie obejmuje wyrobów i usług:
• przecenionych jako niepełnowartościowych, z drugiego gatunku
• wady lub uszkodzenia z powodu których została obniżona cena,
• w przypadku, gdy drzwi były zamontowane podczas robót mokrych,
• za które nie uiszczono należności lub uiszczono ją 90dni po terminie,
• uszkodzeń mechanicznych: powłok malarskich, elementów okuć, pęknięć i zarysowań pakietów szklanych, po dokonanym odbiorze produktu,
• znajdujących się lub wykonanych poza terytorium Rzeczypospolitej Polskiej,
• uszkodzenia spowodowane działaniem środków chemicznych materiałów budowlanych, oraz taśm oklejających,
• uszkodzeń powstałych w wyniku zdarzeń losowych i klęsk żywiołowych takich jak np. porywisty wiatr, pożar, powódź, włamania, dewastacja itp.,
• uszkodzeń powstałych podczas normalnego zużycia eksploatacyjnego, porysowań, zadrapań od paznokci, kluczy lub spowodowanych przez psa,
• widocznej struktury drewna wynikającej z naturalnego rysunku słoi,
• różnic w odcieniach i strukturze usłojenia drewna,
• naturalnych zmian barwy drewna spowodowanych działaniem promieni słonecznych,
• przebarwienia i uszkodzenia powstałe w wyniku pęcznienia drewna podyktowanego niewłaściwą eksportacją np.: nadmierną wilgotnością względną powietrza w pomieszczeniach powyżej 70%,
• zabrudzeń powierzchni spowodowanych normalnym użytkowaniem,
• porysowań powstałych podczas niewłaściwego czyszczenia drzwi, lub mycia szyb
• uszkodzeń okuć spowodowanych rozregulowaniem,
• deformacje uszczelki,
• zamontowane niezgodnie z „Instrukcją montażu”.
• Warunkiem świadczenia usług gwarancyjnych jest przedłożenie przez Kupującego Karty Gwarancyjnej i dowodu zakupu. Wady możliwe do wykrycia przed wbudowaniem i montażem, powinny być niezwłocznie zgłoszone do Dostawcy przed bezwzględnie wykonaniem tych prac.
15. W razie nieuzasadnionego wezwania serwisu, PUH Zakład Stolarski Józef Pędziwiatr wystawi fakturę obciążającą kosztami wyjazdu reklamacyjnego
16. Towar podlegający wymianie reklamacyjnej będzie dostarczony do siedziby Kupującego. Kupującemu nie przysługuje roszczenie pokrycia kosztów lub dostawy wymienionego towaru do innego miejsca niż miejsce dostawy określone w zamówieniu Odpowiedzialność Sprzedawcy z tytułu wad towarów nie obejmuje kosztów montażu, demontażu, transportu towarów, a także innych kosztów z tym związanych.
17. Sprzedawca nie odpowiada za powierzone mu materiały. Produkty wytwarzane usługowo z materiału powierzonego przez Kupującego nie są objęte rękojmią.
18. Poza roszczeniami określonymi w niniejszych OWS Kupującemu nie przysługują względem Sprzedawcy żadne dalej idące roszczenia wynikające z wad towarów, a także wynikające z ich nieterminowej dostawy oraz roszczenia o odszkodowanie za szkodę rzeczywistą lub utracone korzyści.
19. Zakres odpowiedzialności za jakość towarów Sprzedawcy może być ustalona w drodze dodatkowych porozumień
Zakres odpowiedzialności
1. Jakakolwiek odpowiedzialność Sprzedającego związana z zawarciem umowy lub dokonaniem sprzedaży wyrobów (towaru), (za wyjątkiem uchybień umyślnych), niezależnie od tytułu tej odpowiedzialności, nie obejmuje naprawienia szkód dotyczących spodziewanych korzyści, utraconego zysku, strat produkcyjnych, utraty renomy rynkowej itp.
2. Odpowiedzialność za posiadanie przez wyrób (towar) określonych cech lub za przydatność dostarczonego wyrobu (towaru) do pożądanych przez Kupującego celów Sprzedający ponosi wyłącznie pod warunkiem, iż udzielił Kupującemu pisemnego zapewnienia, że wyrób (towar) posiada określone cechy, albo że jest on przydatny do tych celów.
3. Poza opisaną wyżej odpowiedzialnością z tytułu wad wyrobu (towaru), Kupujący nie ma prawa do odszkodowania za jakąkolwiek szkodę wyrządzoną przez wyrób (towar) (w tym przez produkt niebezpieczny) lub w związku z jego posiadaniem lub użyciem – za wyjątkiem obowiązkowej odpowiedzialności wynikającej bezpośrednio z bezwzględnie obowiązujących przepisów prawa.
4. Jeśli osoba trzecia występuje przeciwko Kupującemu z jakimikolwiek roszczeniami mogącymi pozostawać w związku ze sprzedanym Kupującemu przez Sprzedającego wyrobem (towarem) lub z produktami, do których wytworzenia użyto wyrobów (towarów) sprzedanych Kupującemu przez Sprzedającego, Kupujący powinien o tym natychmiast powiadomić Sprzedającego umożliwiając mu uczestnictwo w postępowaniach związanych z roszczeniami tej osoby, pod rygorem wyłączenia jakiejkolwiek odpowiedzialności Sprzedającego związanej z owymi roszczeniami.
5. Sprzedający zastrzega sobie prawo dochodzenia odszkodowania w zakresie, w jakim poniesiona przezeń szkoda przekracza wartość zastrzeżonych kar umownych.
6. Drzwi nie są produktem użytkowym lecz wyrobem budowlanym przeznaczonym do wbudowania w obiekt budowlany i jako takie podlegają przepisom ustawy o wyrobach budowlanych [Dz.U.92 z 2004r poz. 881 z 2004 r.] oraz przepisom o rękojmi na zasadach ogólnych. Na drzwi nie udziela się gwarancji. Gwarancja taka może być udzielona przez jednostkę wykonującą montaż jako na elementy budowlane, czyli drzwi wbudowane w obiekt budowlany.
7. Roszczenia reklamacyjne po zabudowaniu drzwi mogą dotyczyć wad ukrytych a nie wad montażu czy uszkodzeń powstałych w wyniku nieodpowiedniej ich eksploatacji. Reklamacje drzwi może wnosić jednostka odpowiedzialna za prawidłowy odbiór drzwi przed montażem oraz ich montaż, po uprzednim sprawdzeniu prawidłowości ich doboru oraz zabudowy a także eliminacji wadliwości drzwi z przyczyn tkwiących w niewłaściwym ich montażu czy użytkowaniu.
Siła wyższa
Strony nie ponoszą odpowiedzialności za częściowe lub całkowita niewykonanie umowy (kontraktu) spowodowane siłą wyższą.
„Siła wyższa” oznacza okoliczności o nadzwyczajnym charakterze, spowodowane zrządzeniem losu lub takimi zdarzeniami jak strajki, rozruchy, wojna, katastrofy itp., które wystąpiły po podpisaniu umowy (kontraktu) i pozostawały całkowicie poza kontrolą stron. Jedna ze stron może powołać się na „siłę wyższa” pod warunkiem, że druga strona zostanie powiadomiona o wyżej wymienionych okolicznościach.
Inne
1. Do rozstrzygania wszelkich mogących wyniknąć pomiędzy stronami sporów, do których zastosowanie znajdowałyby niniejsze Ogólne Warunki Sprzedaży, właściwy będzie wyłącznie polski sąd powszechny rzeczowo i miejscowo właściwy dla Sprzedającego.
2. Do każdej umowy sprzedaży, na mocy której Sprzedający dokona na rzecz Kupującego sprzedaży jakichkolwiek wyrobów (towarów), znajdują zastosowanie niniejsze Ogólne Warunki Sprzedaży (jeżeli Kupujący w jakiejkolwiek formie i kiedykolwiek został o nich poinformowany, lub mógł się z łatwością zapoznać z ich treścią i jeżeli strony nie wyłączyły na piśmie stosowania tych – wszystkich lub niektórych – warunków), jak również– w zakresie nie unormowanym w treści niniejszych OWS – odpowiednie przepisy Polskiego Kodeksu Cywilnego i innych polskich bezwzględnie obowiązujących aktów prawnych.
Klauzula poufności
W czasie trwania umowy strony zobowiązują się wzajemnie do nie ujawniania osobom trzecim jakichkolwiek informacji wzajemnie od siebie otrzymanych a dotyczących umowy czy jej realizacji lub innych informacji poufnych przekazanych sobie nawzajem. Za wyjątkiem gdy obowiązek ich ujawnienia wynika z przepisów prawa na rzecz uprawnionych organów państwowych.
Ochrona danych osobowych
Akceptując niniejsze OWS Kupujący wyraża zgodę na przetwarzanie jego danych osobowych przez PUH Zakład Stolarski Józef Pędziwiatr w związku z realizacją umów sprzedaży wyrobów (towarów) oferowanych przez PUH Zakład Stolarski Józef Pędziwiatr, oraz w celach marketingowych związanych z prowadzoną przez PUH Zakład Stolarski Józef Pędziwiatr działalnością gospodarczą. Kupującemu przysługują wszelkie uprawnienia wynikające z ustawy z dnia 29 sierpnia 1997 o ochronie danych osobowych (Dz. U. Nr 101 poz. 926 z dnia 6 lipca 2002 r.


